Is somebody really claiming to have invented a method for switching from watching one video to watching another?
This question comes from a lawyer at the New York Times, as an aside in an interesting article about the paper’s response to a defamation threat from a presidential candidate. Apparently, that defamation threat distracted the his legal team from their work on another task: responding to a patent troll. Intrigued, we looked into it. The patent troll is called Bartonfalls, LLC and its patent, U.S. Patent No. 7,917,922, is our latest Stupid Patent of the Month.
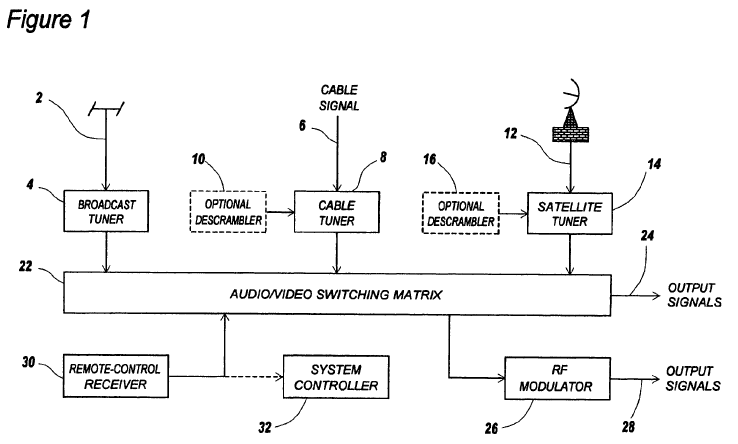
The patent is titled “Video input switching and signal processing apparatus.” It includes just two pages of text and, as the title suggests, describes an apparatus for switching between channels that come from different inputs (e.g. between cable channels and free-to-air broadcasts). The patent is directed to the equipment found in and around a 1990s television (such as VCRs, cable converters, satellite tuners). It does not even mention the Internet.

This is not how you watch video on nytimes.com
Even though its patent has nothing whatsoever to do with Internet video, Bartonfalls has sued the New York Times and a dozen other companies that provide online content. In its complaints, it suggests that merely auto-playing a video after another has finished is enough to infringe its patent. In its complaint against the New York Times it claims:
[O]n its website [at this link], NYT practices The Accused Instrumentality of automatically changing from a first TV program (e.g., “Bill Clinton Offers Personal Tales of Hillary”) to an alternate TV program (e.g., “Sanders Delegates Revolt After Roll Call”) at a TV viewer location (e.g., at the location of a user of the accused instrumentality).
This is ridiculous. Even if we assume this perfunctory patent describes a non-obvious invention, its claims are directed to automatically changing “TV channels” at a “TV viewer location.” In the context of the patent’s own description, “TV” clearly means “television,” not “television or computer.”
Arstechnica looked into the background of Bartonfalls and its patent. It found a campaign with all the indicia of abusive patent litigation. The company has no business other than patent litigation. All of its cases are filed in the plaintiff-friendly Eastern District of Texas. As with so many other troll cases, at least one of the so-called “inventors” is a patent lawyer.
We need broad patent reform to cut down on abusive troll litigation. For starters, tell your representatives that we need venue reform legislation to stop trolls flocking to the Eastern District of Texas.


Tell the Senate to end venue abuse in patent lawsuits.




